![]() |
|
| Добро пожаловать: гость! Вход | Регистрация | Текущее время: Пн апр 20, 2026 4:11 am | |


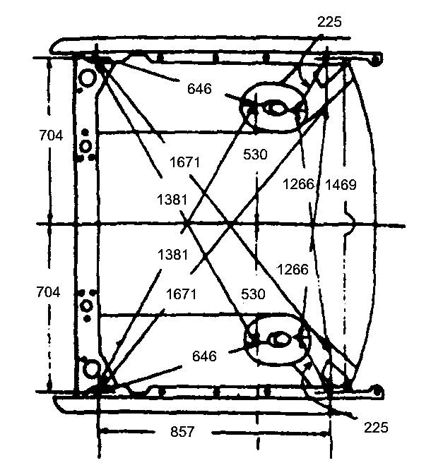
nikolajs писал(а):Такой? Только это на 740, но думаю это не принципиально!

nikolajs писал(а):Такой? Только это на 740, но думаю это не принципиально!

Сейчас этот форум просматривают: нет зарегистрированных пользователей и гости: 1